KARI PROPRIETARY
Request For Proposal
High Level Induced Transient Susceptibility
Test-Set for Spacecraft EMC Test Equipment
March 25, 2020
Space Test Department
Korea Aerospace Research Institute
169-84 Gwahangno, Yuseung, Daejeon, 34133, KOREA
Phone : 82(42)860-2977, Fax : 82(42)860-2234
KARI PROPRIETARY
Request For Proposal
for
High Level Induced Transient Susceptibility
Test-Set for Spacecraft EMC Test Equipment
IMPORTANT
1. This RFP should be kept in confidentiality and should neither
be copied nor distributed to the third parties.
2. The questions and opinions on this RFP can be asked or
suggested to Korea Aerospace Research Institute before
submission of the proposal.
3. This RFP should be returned to Korea Aerospace Research
Institute with bidder’s proposal.
4. This RFP shall be legal bind after the contract is awarded
unless the bidder explicitly expresses the differences from the
RFP in the compliance sheet.
March 25, 2020
Space Test Department
Korea Aerospace Research Institute
169-84 GWAHANGNO,
YUSEONG
DAEJEON, 34133, KOREA
Phone : 82(42)860-2977, FAX : 82(42)860-2234
e-mail : jjw0302@kari.re.kr
RFP.SITC.KARI.KOREA
2020.03.25
3
Space Environment Test Division.
PART I. Overview
1.
Overview of the project
1.1. Korea Aerospace Research Institute (hereinafter referred to as “KARI”)
is located at Daeduk Research Complex, 140 km south of Seoul.
1.2. KARI has a satellite assembly, integration and test center (hereinafter
referred to as “AITC”) for joint use by corporations and research
institutes for the purpose of the effective development of domestic
satellites. And basic facilities and equipment for satellite assembly
and test have been supplied, installed and used.
1.3. The purpose of this project is to install waveform generators set
including generators, system accessories, controller and software etc.
to perform all test items defined in DO-160G section 22(detailed
requirements are defined PART II) and MIL-STD-461G CS117. These
equipments will be installed in KARI EMC chamber.
1.4. The main undertakings of the project are to perform factory and site
acceptance tests, install, guarantee quality and training, etc.
1.5. The supplier should submit the business showings of the installing
the Test Equipment for Induced Transient Susceptibility.
1.6. All the descriptions in this RFP are minimum requirements and the
supplier can suggest the better one to improve the overal
performance and cost. But in this case, the proposal should clearly
indicate the improvements from KARI’s requirements.
RFP.SITC.KARI.KOREA
2020.03.25
4
Space Environment Test Division.
2.
Procedures of the project
2.1. The project shall be proceeded with five parts as follows:
2.1.1. Organization of waveform generator set including system
accessories, controller and software etc.
2.1.2. Factory acceptance test & safety plan verification
2.1.3. Transportation
2.1.4. Installation at KARI
2.1.5. Final acceptance test at KARI according to supplied test
procedure & previous test results
2.2. The participants shall submit the detailed work schedule for article
2.2.1. Specially, the work schedule at KARI shall be confirmed by KARI
for avoiding overlap with KARI’s other test schedules.
2.3. The format of proposal
2.3.1. The participants shall submit 6 copies of a detailed proposal to
KARI according to the format and contents satisfying the
requirements stipulated in this RFP.
2.3.2. The compliance sheet with the requirement of this RFP shall
certainly be included in the proposal.
2.3.3. The price of the system shall be broken down.
2.3.4. The participants shal make out a proposal with their own writing.
2.3.5. The language shall be English or Korean.
2.4. The proposal shall be delivered to KARI before the due date for
submission.
RFP.SITC.KARI.KOREA
2020.03.25
5
Space Environment Test Division.
2.5. All proposals and documents submitted shall become the property of
KARI.
3.
Requisites of participants
3.1. The participants shall supply information about themselves.
3.2. The participants shall have experience of installation, operation,
arranging, integration of waveform generators set for lightning
induced transient susceptibility test to be installed in EMC test facility
in Korea.
4.
Scope of the contract
4.1. The project is on turnkey base and the proposal shall include the
following;
4.1.1. Engineering work of the equipment
4.1.2. Manufacture, assembly and turnkey delivery of the equipment
4.1.3. Parts and particular instruments necessary to operate the
equipment
4.1.4. Installation work and acceptance test at factory & KARI site
4.1.5. Project management, site operation, cooperation with KARI
4.1.6. Basic principle, operation, warranty, maintenance, repair, safety
and training for the equipment
4.1.7. Relevant books and manuals
RFP.SITC.KARI.KOREA
2020.03.25
6
Space Environment Test Division.
4.1.8. Other necessary matters required for acquiring and installing the
equipment (including checking of AITC building interface and
construction)
RFP.SITC.KARI.KOREA
2020.03.25
7
Space Environment Test Division.
PART II. TECHNICAL REQUIREMENTS
I. General
Waveform generators set for induced transient susceptibility test will be
installed in EMC chamber in KARI.
This system is for Induced Transient Susceptibility test defined in RTCA DO-
160G Section 22 and MIL-STD-461G CS117. This test system shall be designed
and almost complied in accordance with RTCA DO-160G Section 22.0 and MIL-
STD-461G CS117.
II. Configuration of Goods
1.
Generator : 1 set
2.
System Accessories : 1 set
2.1. AUX Connector(for safety circuit)
2.2. Test Cables(for EUT Connection)
2.3. User manual, conformity declaration and verification protocol
3.
System Controller and Software(Demo Disks GENECS and TEMA) : 1 set
III. DETAIL SPECIFICATION
RFP.SITC.KARI.KOREA
2020.03.25
8
Space Environment Test Division.
1.
Following waveforms shall be generated by transient generator. Test level
is defiend in 5. Acceptance Test and DO-160G Section 22.
1.1. WF1 [WaveForm(hereinafter referred to as “WF”)]
- Rise Time: 6.4 μs (± 20 %)
- Half value time: 69 μs (± 20 %)
- Generator Setting Range: 20 A ~ 1800 A or wider
- Generated level with Coupler: 20 A ~ 3180 A or wider
1.2. WF4
- Rise Time: 6.4 μs (± 20 %)
- Half value time: 69 μs (± 20 %)
- Generator output: 70 V ~ 1700 V / 340A for Pin/Ground Injection
- Generated output with Coupler: FS 300~750 V SS 75 V~187.5 V
or higher for cable induction test
1.3. WF5A
- Rise Time: 40 μs (± 20%)
- Half value time: 120 μs (± 20%)
RFP.SITC.KARI.KOREA
2020.03.25
9
Space Environment Test Division.
- Generator Setting Range: 80A ~ 3000A or Wider
- Generated level with Coupler: 80A ~ 10000A or Wider
1.4. Waveform definition
Waveform 1(Current)
Waveform 4(Voltage)
Configur
ation
Waveform 5(Current/Voltage)
Configur
ation
2.
System Composition
2.1. Waveform Generator
2.2. AUX Connector(for safety circuit)
2.3. Test Cables(for EUT Connection)
2.4. User manual, conformity declaration and verification protocol
RFP.SITC.KARI.KOREA
2020.03.25
10
Space Environment Test Division.
2.5. System Controller and Software(Demo Disks GENECS and TEMA)
3.
Environment condition
3.1. Temperature condition
3.1.1. Ambient temperature : 0℃ ~ 45℃
3.1.2. Storage temperature: -20˚C ~ +85˚C
3.2. Relative humidity : up to 95%
3.3. Location : normal laboratory environment
3.4. Operating altitude : up to 2000m above sea level
4.
Acceptance Test
Fol owing acceptance tests shal be performed for al delivered test
systems.
4.1. Acceptance test procedure
4.1.1. Unpacking
4.1.2. Visual inspection
4.1.3. Installation of the Test systems in EMC chamber
4.1.4. Electricity connection
4.1.5. Oscilloscope, RF cables, probes, couplers, load and system
accessaries connection fitted for each test item.
4.1.6. System control line connection
RFP.SITC.KARI.KOREA
2020.03.25
11
Space Environment Test Division.
4.1.7. Fill acceptance test results in the performance test report
4.2. Acceptance test items, level and methods
For all test items, CI is Cable Injection, GI is Ground Injection, SS is
Single Stroke and L is Level, respectively.
Detailed test specification and methods are defined in RTCA DO-
160G Section 22 and MIL-STD-461G CS117.
4.2.1. Waveform 1
Type
Injection
Event
Level 4
Level 5
Cable
Bundle
CI
SS
Yes
Yes
4.2.2. Waveform 4
Type
Injection
Event
L4
L5
PIN
Direct
SS
Yes
Yes
Cable
Bundle
GI
SS
Yes
Yes
4.2.3. Waveform 5A
Type
Injection
Event
L4
L5
PIN
Direct
SS
Yes
Yes
CI
SS
Yes
Yes
RFP.SITC.KARI.KOREA
2020.03.25
12
Space Environment Test Division.
Cable
Bundle
GI
SS
Yes
Yes
4.3. If needed by request of a purchaser, Factory Acceptance Test shall
be performed in the place of production.
5.
Remarks
5.1. Payment condition : 90% release Goods is ready to ship, 10% release
installation and training is done.
5.2. Warranty must be guaranteed for at least 12 months.
5.3. The delivery should be within 6 months after receipt of PO.
5.4. Software and Rack etc must be provided by the supplier. This would
be discussed between both parties.
5.5. Training and verification on delivery of goods should be provided
with more than 2 weeks by wel experienced engineer who has dealt
with more than two system for more than five years.
5.6. All generator should be powered by Single Phase 220V, 16A.
5.7. Test system has an ability to test at least two EUTs simultaneously in
parallel.
5.8. Test System does never be al owed to include any ROHS Material to
harm user’s health.
5.9. Supplier should provide end-user with calibration/verification data
of delivery of goods. It includes WF1/WF4/WF5A and al possible test
level.
RFP.SITC.KARI.KOREA
2020.03.25
13
Space Environment Test Division.
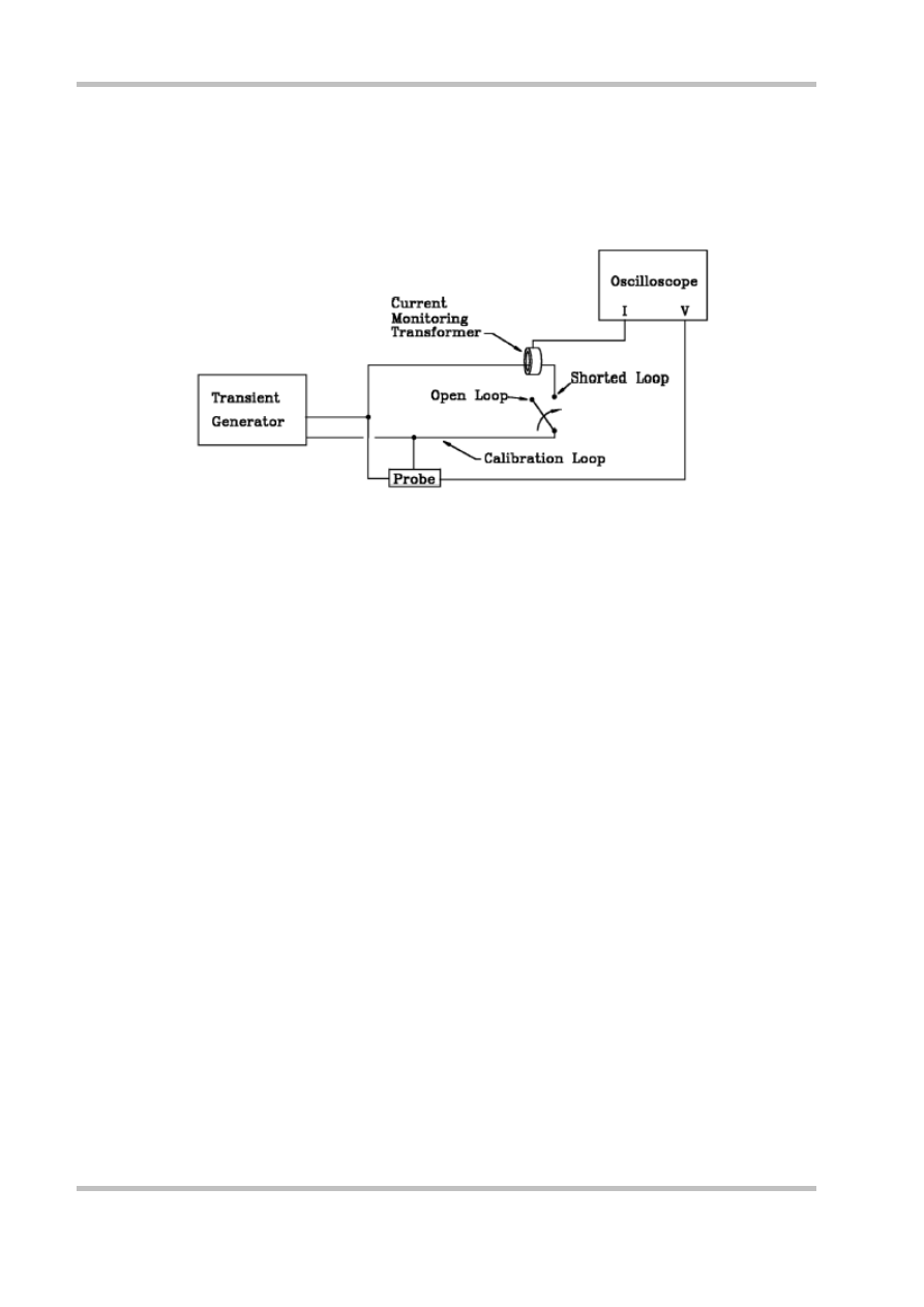
Appendix. Verification Setup For Acceptance Test
1. Pin Injection Calibration Setup, Signal Pins & Power Pins Direct Injection
Method
2. Typical Generator Performance Verification Setup for Cable Induction
Tests
RFP.SITC.KARI.KOREA
2020.03.25
14
Space Environment Test Division.
3. Typical Generator Performance Verification Setup for Ground Injection
Tests