PDF문서RFP_High Level Induced Transient Susceptibility Test Set.pdf

닫기

background image

KARI  PROPRIETARY 

 

Request For Proposal 

High Level Induced Transient Susceptibility 

Test-Set for Spacecraft EMC Test Equipment  

 

 

 

March 25, 2020 

 

Space Test Department 

Korea Aerospace Research Institute 

 

169-84 Gwahangno, Yuseung, Daejeon, 34133, KOREA 

Phone : 82(42)860-2977, Fax : 82(42)860-2234 

 
 

KARI  PROPRIETARY 

 

 


background image

Request For Proposal 

for 

 

High Level Induced Transient Susceptibility 

Test-Set for Spacecraft EMC Test Equipment 

 

IMPORTANT 

 

1. This RFP should be kept in confidentiality and should neither 
be copied nor distributed to the third parties. 
2. The  questions  and  opinions  on  this  RFP  can  be  asked  or 
suggested  to  Korea  Aerospace  Research  Institute  before 
submission of the proposal. 
3. This RFP should be returned to Korea Aerospace Research 
Institute with bidder’s proposal. 
4. This RFP shall be legal bind after the contract is awarded 
unless the bidder explicitly expresses the differences from the 
RFP in the compliance sheet. 

 
 

March 25, 2020 

Space Test Department 

Korea Aerospace Research Institute 

 

169-84 GWAHANGNO, 

YUSEONG 

DAEJEON, 34133, KOREA 

 

Phone : 82(42)860-2977, FAX : 82(42)860-2234 

e-mail : jjw0302@kari.re.kr


background image

RFP.SITC.KARI.KOREA 

 

2020.03.25 

 

 
 
 

Space Environment Test Division. 

PART I. Overview 

1. 

Overview of the project 

1.1. Korea Aerospace Research Institute (hereinafter referred to as “KARI”) 

is located at Daeduk Research Complex, 140 km south of Seoul. 

1.2. KARI has a satellite assembly, integration and test center (hereinafter 

referred  to  as  “AITC”)  for  joint  use  by  corporations  and  research 

institutes for the purpose of the effective development of domestic 

satellites.  And  basic  facilities  and  equipment  for  satellite  assembly 

and test have been supplied, installed and used. 

1.3. The  purpose  of  this  project  is  to  install  waveform  generators  set 

including generators, system accessories, controller and software etc. 

to  perform  all  test  items  defined  in  DO-160G  section  22(detailed 

requirements are defined PART II) and MIL-STD-461G CS117. These 

equipments will be installed in KARI EMC chamber. 

1.4. The main undertakings of the project are to perform factory and site 

acceptance tests, install, guarantee quality and training, etc. 

1.5. The supplier should submit the business showings of the installing 

the Test Equipment for Induced Transient Susceptibility. 

1.6. All the descriptions in this RFP are minimum requirements and the 

supplier  can  suggest  the  better  one  to  improve  the  overal  

performance and cost. But in this case, the proposal should clearly 

indicate the improvements from KARI’s requirements. 

 


background image

RFP.SITC.KARI.KOREA 

 

2020.03.25 

 

 
 
 

Space Environment Test Division. 

2. 

Procedures of the project 

2.1. The project shall be proceeded with five parts as follows: 

2.1.1. Organization  of  waveform  generator  set  including  system 

accessories, controller and software etc. 

2.1.2. Factory acceptance test & safety plan verification  

2.1.3. Transportation 

2.1.4. Installation at KARI 

2.1.5. Final  acceptance  test  at  KARI  according  to  supplied  test 

procedure & previous test results 

2.2. The participants shall submit the detailed work schedule for article  

2.2.1. Specially, the work schedule at KARI shall be confirmed by KARI 

for avoiding overlap with KARI’s other test schedules. 

2.3. The format of proposal  

2.3.1. The participants shall submit 6 copies of a detailed proposal to 

KARI  according  to  the  format  and  contents  satisfying  the 

requirements stipulated in this RFP. 

2.3.2. The  compliance  sheet  with  the  requirement  of  this  RFP  shall 

certainly be included in the proposal. 

2.3.3. The price of the system shall be broken down. 

2.3.4. The participants shal  make out a proposal with their own writing. 

2.3.5. The language shall be English or Korean. 

2.4. The  proposal  shall  be  delivered  to  KARI  before  the  due  date  for 

submission. 


background image

RFP.SITC.KARI.KOREA 

 

2020.03.25 

 

 
 
 

Space Environment Test Division. 

2.5. All proposals and documents submitted shall become the property of 

KARI. 

 

3. 

Requisites of participants 

3.1. The participants shall supply information about themselves. 

3.2. The  participants  shall  have  experience  of  installation,  operation, 

arranging,  integration  of  waveform  generators  set  for  lightning 

induced transient susceptibility test to be installed in EMC test facility 

in Korea. 

 

4. 

Scope of the contract 

4.1. The  project  is  on  turnkey  base  and  the  proposal  shall  include  the 

following; 

4.1.1. Engineering work of the equipment 

4.1.2. Manufacture, assembly and turnkey delivery of the equipment 

4.1.3. Parts  and  particular  instruments  necessary  to  operate  the 

equipment 

4.1.4. Installation work and acceptance test at factory & KARI site 

4.1.5. Project management, site operation, cooperation with KARI 

4.1.6. Basic principle, operation, warranty, maintenance, repair, safety 

and training for the equipment 

4.1.7. Relevant books and manuals 


background image

RFP.SITC.KARI.KOREA 

 

2020.03.25 

 

 
 
 

Space Environment Test Division. 

4.1.8. Other necessary matters required for acquiring and installing the 

equipment (including checking of AITC building interface and 

construction) 


background image

RFP.SITC.KARI.KOREA 

 

2020.03.25 

 

 
 
 

Space Environment Test Division. 

PART II. TECHNICAL REQUIREMENTS 

I. General 

Waveform  generators  set  for  induced  transient  susceptibility  test  will  be 

installed in EMC chamber in KARI. 

This system is for Induced Transient Susceptibility test defined in RTCA DO-

160G Section 22 and MIL-STD-461G CS117. This test system shall be designed 

and almost complied in accordance with RTCA DO-160G Section 22.0 and MIL-

STD-461G CS117. 

 

II. Configuration of Goods 

1. 

Generator : 1 set 

2. 

System Accessories : 1 set 

2.1. AUX Connector(for safety circuit) 

2.2. Test Cables(for EUT Connection) 

2.3. User manual, conformity declaration and verification protocol 

3. 

System Controller and Software(Demo Disks GENECS and TEMA) : 1 set 

 

III. DETAIL SPECIFICATION 


background image

RFP.SITC.KARI.KOREA 

 

2020.03.25 

 

 
 
 

Space Environment Test Division. 

1. 

Following waveforms shall be generated by transient generator. Test level 

is defiend in 5. Acceptance Test and DO-160G Section 22.  

1.1. WF1 [WaveForm(hereinafter referred to as “WF”)] 

- Rise Time: 6.4 μs (± 20 %) 

- Half value time: 69 μs (± 20 %) 

- Generator Setting Range: 20 A ~ 1800 A or wider 

- Generated level with Coupler: 20 A ~ 3180 A or wider 

 

1.2. WF4 

- Rise Time: 6.4 μs (± 20 %) 

- Half value time: 69 μs (± 20 %) 

- Generator output: 70 V ~ 1700 V / 340A for Pin/Ground Injection 

- Generated output with Coupler: FS 300~750 V SS 75 V~187.5 V 

or higher for cable induction test 

 

1.3. WF5A 

- Rise Time: 40 μs (± 20%) 

- Half value time: 120 μs (± 20%) 


background image

RFP.SITC.KARI.KOREA 

 

2020.03.25 

 

 
 
 

Space Environment Test Division. 

- Generator Setting Range: 80A ~ 3000A or Wider 

- Generated level with Coupler: 80A ~ 10000A or Wider 

 

1.4. Waveform definition 

 

 

Waveform 1(Current) 

Waveform 4(Voltage) 

Configur
ation 

 

 

 

 

Waveform 5(Current/Voltage) 

Configur
ation 

 

 
 

2. 

System Composition  

2.1. Waveform Generator  

2.2. AUX Connector(for safety circuit) 

2.3. Test Cables(for EUT Connection) 

2.4. User manual, conformity declaration and verification protocol 


background image

RFP.SITC.KARI.KOREA 

 

2020.03.25 

 

 
 
 

10 

Space Environment Test Division. 

2.5. System Controller and Software(Demo Disks GENECS and TEMA)  

 

3. 

Environment condition 

3.1. Temperature condition 

3.1.1. Ambient temperature : 0℃ ~ 45℃ 

3.1.2. Storage temperature: -20˚C ~ +85˚C 

3.2. Relative humidity : up to 95% 

3.3. Location  : normal laboratory environment 

3.4. Operating altitude : up to 2000m above sea level  

 

4. 

Acceptance Test 

Fol owing  acceptance  tests  shal   be  performed  for  al   delivered  test 

systems.  

 

4.1. Acceptance test procedure  

4.1.1. Unpacking 

4.1.2. Visual inspection 

4.1.3. Installation of the Test systems in EMC chamber 

4.1.4. Electricity connection 

4.1.5. Oscilloscope,  RF  cables,  probes,  couplers,  load  and  system 

accessaries connection fitted for each test item.  

4.1.6. System control line connection 


background image

RFP.SITC.KARI.KOREA 

 

2020.03.25 

 

 
 
 

11 

Space Environment Test Division. 

4.1.7. Fill acceptance test results in the performance test report  

 

4.2. Acceptance test items, level and methods 

For all test items, CI is Cable Injection, GI is Ground Injection, SS is 

Single Stroke and L is Level, respectively.  

Detailed  test  specification  and  methods  are  defined  in  RTCA  DO-

160G Section 22 and MIL-STD-461G CS117. 

 

4.2.1. Waveform 1  

Type 

Injection 

Event 

Level 4 

Level 5 

Cable 

Bundle 

CI 

SS 

Yes 

Yes 

 

4.2.2. Waveform 4 

Type 

Injection 

Event 

L4 

L5 

PIN 

Direct 

SS 

Yes 

Yes 

Cable 

Bundle 

GI 

SS 

Yes 

Yes 

 

4.2.3. Waveform 5A 

Type 

Injection 

Event 

L4 

L5 

PIN 

Direct 

SS 

Yes 

Yes 

CI 

SS 

Yes 

Yes 


background image

RFP.SITC.KARI.KOREA 

 

2020.03.25 

 

 
 
 

12 

Space Environment Test Division. 

Cable 

Bundle 

GI 

SS 

Yes 

Yes 

 

4.3. If needed by request of a purchaser, Factory Acceptance Test shall 

be performed in the place of production.  

 

5. 

Remarks  

5.1. Payment condition : 90% release Goods is ready to ship, 10% release 

installation and training is done.  

5.2. Warranty must be guaranteed for at least 12 months. 

5.3. The delivery should be within 6 months after receipt of PO. 

5.4. Software and Rack etc must be provided by the supplier. This would 

be discussed between both parties. 

5.5. Training and verification on delivery of goods should be provided 

with more than 2 weeks by wel  experienced engineer who has dealt 

with more than two system for more than five years. 

5.6. All generator should be powered by Single Phase 220V, 16A. 

5.7. Test system has an ability to test at least two EUTs simultaneously in 

parallel. 

5.8. Test System does never be al owed to include any ROHS Material to 

harm user’s health. 

5.9. Supplier  should  provide  end-user  with  calibration/verification  data  

of delivery of goods. It includes WF1/WF4/WF5A and al  possible test 

level. 


background image

RFP.SITC.KARI.KOREA 

 

2020.03.25 

 

 
 
 

13 

Space Environment Test Division. 

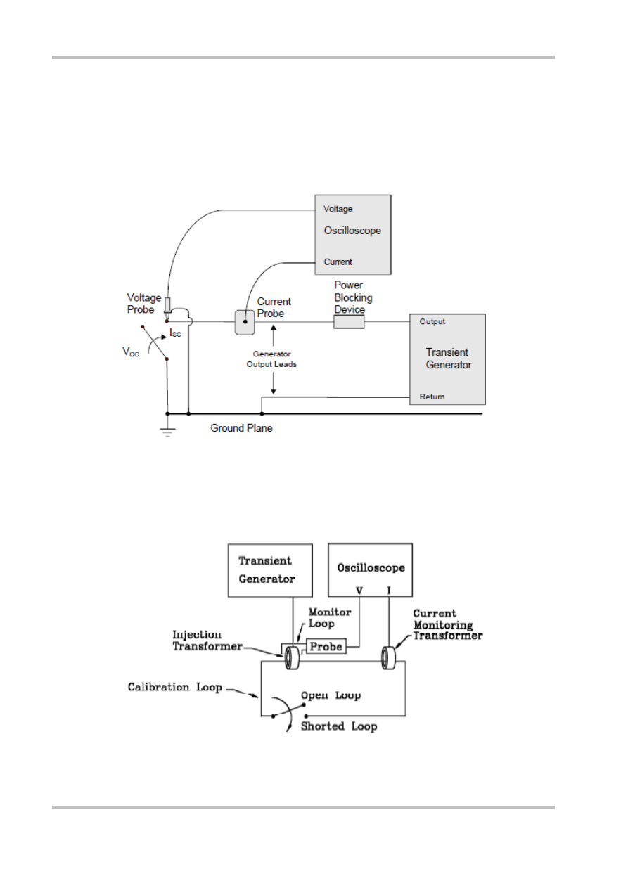
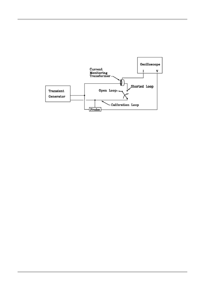
Appendix. Verification Setup For Acceptance Test 

1. Pin Injection Calibration Setup, Signal Pins & Power Pins Direct Injection 

Method 

 

 

2.  Typical  Generator  Performance  Verification  Setup  for  Cable  Induction 

Tests 

 

 


background image

RFP.SITC.KARI.KOREA 

 

2020.03.25 

 

 
 
 

14 

Space Environment Test Division. 

3. Typical  Generator Performance Verification Setup for Ground Injection 

Tests